Icone menu mobile Logo P2R
Créer un compte


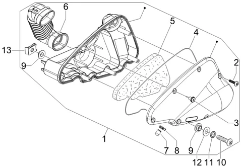
Eclatés de véhicule - PIAGGIO FLY 125 4T E3 2008-2011 PIAGGIO

Moteur : 01.45 FILTRE À AIR
Filtre à air
Rechercher
BOITE FILTRE AIR ORIGINE PIAGGIO 125 FLY, LIBERTY, VESPA LX  -878184-

1

Référence P2R Référence P2R
Référence constructeur Référence constructeur
Plus d'informations

Quantité requise : 1

VIS AUTOTARAUDEUSE (3x20) CRUCIFORME ORIGINE PIAGGIO COMMUN A LA GAMME -258146

2

Référence P2R Référence P2R
Référence constructeur Référence constructeur
Plus d'informations

Quantité requise : 5

BOUTON/ POMMEAU DE FERMETURE DE FILTRE A AIR ORIGINE PIAGGIO COMMUN A LA GAMME -479132

3

Référence P2R Référence P2R
Référence constructeur Référence constructeur
Plus d'informations

Quantité requise : 1

843195 - JOINT

4

Référence P2R Référence P2R
Référence constructeur Référence constructeur
Plus d'informations

Quantité requise : 1

ELEMENT/MOUSSE DE FILTRE A AIR (PREMIUM) ORIGINE PIAGGIO 125 FLY 2005>, LIBERTY, X8-STREET 2006>, VESPA LX, 50 FLY 4T, VESPA LX 4T/APRILIA 125 MOJITO 2008>, SPORT-CITY, SR-MAX 2012> -8431940P

5

Référence P2R Référence P2R
Référence constructeur Référence constructeur
Plus d'informations

Quantité requise : 1

TUYAU REGULATEUR AIR ORIGINE PIAGGIO TYPHOON 50 4T 2012>2017, FLY 50-125 4T 2012>2013, LIBERTY 125 2009>2012, X8 125 STREET 2006>2007/ VESPA S 50-125 4T 2008>2014 -843849

6

Référence P2R Référence P2R
Référence constructeur Référence constructeur
Plus d'informations

Quantité requise : 1

PURGEUR BOITIER DE FILTRE A AIR ORIGINE PIAGGIO COMMUN A LA GAMME SCOOTER 4T ET MAXISCOOTER -827831

7

Référence P2R Référence P2R
Référence constructeur Référence constructeur
Plus d'informations

Quantité requise : 1

COLLIER DURITE (D13) REFROIDISSEMENT ORIGINE PIAGGIO COMMUN A LA GAMME MAXISCOOTER 125-250-300 -CM002910

8

Référence P2R Référence P2R
Référence constructeur Référence constructeur
Plus d'informations

Quantité requise : 1

DOUILLE EN T (D5) MOLETEE CENTRAGE BOITE A AIR ORIGINE PIAGGIO COMMUN A LA GAMME -830056

9

Référence P2R Référence P2R
Référence constructeur Référence constructeur
Plus d'informations

Quantité requise : 4

VIS CRUCIFORME (6x50) ORIGINE PIAGGIO COMMUN A TOUTE LA GAMME -018640

10

Référence P2R Référence P2R
Référence constructeur Référence constructeur
Plus d'informations

Quantité requise : 2

RONDELLE EVENTAIL (6,6x11x0) ORIGINE PIAGGO COMMUN A LA GAMME -012533

11

Référence P2R Référence P2R
Référence constructeur Référence constructeur
Plus d'informations

Quantité requise : 2

RONDELLE PLATE (6x12x1) ORIGINE PIAGGIO COMMUN A LA GAMME -003056

12

Référence P2R Référence P2R
Référence constructeur Référence constructeur
Plus d'informations

Quantité requise : 2

ECROU TOLE (M6) ORIGINE PIAGGIO COMMUN A LA GAMME -254485

13

Référence P2R Référence P2R
Référence constructeur Référence constructeur
Plus d'informations

Quantité requise : 2

Tous les éclatés de ce véhicule

Filtrer :
Ou choisissez :