Eclatés de véhicule - PIAGGIO X9 200 1998-2005
Tous les éclatés de ce véhicule
-
-
T1 Moteur
-
T10 Poulie entrainee
-
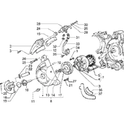
T11 Ensemble pompe-carter huile
-
T12 Arbre roue ar.
-
T13 Poulie motrice
-
T14 Limiteur de coupe-poulie d'amortissement
-
T15 Démarrage électrique
-
T16 Refroidissement carter
-
T17 Volant magnetique
-
T18 Tuyau de refroidissement courrie-tuyau d'aspiracion
-
T19 Carburateur
-
T2 Carter
-
T20 Carburateur
-
T21 Carburateur
-
T22 Filtre a air
-
T23 Silencieux
-
T24 Chassis
-
T25 Bras oscillant
-
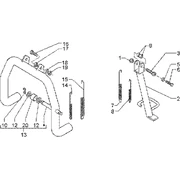
T26 Bequilles
-
T27 Bouclier-pare-brise
-
T28 Coffre a l'avant
-
T29 Partie centrale
-
T3 Vilebrequin
-
T30 Reservoir
-
T31 Vase d'expansion
-
T32 Radiateur
-
T33 Porte-casque
-
T34 Protections laterales-spoiler
-
T35 Logement roue-garde boue
-
T36 Selle-trousse d'outilis
-
T37 Fourche
-
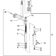
T38 Amortisseurs
-
T39 Groupe des instruments
-
T4 Ensemble cylindre-piston-axe de piston
-
T40 Protection guidon
-
T41 Guidon-pompe du frein
-
T42 Canalisation d'huile
-
T43 Pinces frein
-
T44 Feux avant
-
T45 Feux arriere
-
T46 Protections arriere
-
T47 Dispositifs electriques-claxon
-
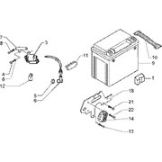
T48 Batterie
-
T49 Dispositifs electriques
-
T5 Ensemble culasse-soupapes
-
T50 Groupe principal des câbles
-
T51 Commutateur
-
T52 Roue av.
-
T53 Roue ar.
-
T6 Ensemblesupport balanciers
-
T7 Soupape reniflard huile
-
T8 Tendeur de chaîne-soupape by-pass
-
T9 Filtre à huile